Happy New Year and welcome to the first Early Medieval (mostly) Textiles post of 2021!
We are starting the new year off with a bang.

Celia Elliott-Minty has been weaving and braiding for about 40 years and in that time has explored most of the recognised techniques, although tablet weaving has remained her favourite. Following retirement from her career as a scientist, she has focused particularly on studying the structure of historic textiles and asking how they might have been created.
She currently has 2 papers in press:
Exploring the construction of a Bronze Age braided band from Dartmoor. Archaeological Textiles Review.
A Shared Warp: The Woven Belts of the Lao Han People, China. EXARC Journal, special edition for European Textile Forum meeting 2019. She has a PhD in immunology, which makes the current pandemic a rather interesting time.
Today she is discussing Tablet weaving – where twining and weaving meet.
What is Tablet Weaving?
I suspect that to many people it’s those lovely patterned bands popular in the early Medieval and Viking eras. But what is it about this technique that allows such patterns to be created? How does it differ from other weaving methods? When and where did it originate? This blog aims to provide some answers.
A brief introduction
A woven fabric consists of 2 basic elements – the warp, which is generally stretched out under tension, and a weft that crosses the warp at right angles to the warp. The warp threads have to be lifted or dropped down in some way so that the weft can pass under or over the individual warp threads, and so form an integrated cloth. In most techniques, the warp threads move up or down without interacting with each other. Therefore, it is the weft that holds the warp threads together.
The warp threads can be moved up or down with the fingers (very slow but allows individual threads to be moved), or by some sort of mechanism whereby each warp thread is passed through a string or metal loop, and the loops are manipulated as groups (faster but less versatile). To obtain complex patterning, draw-looms and Jacquard looms were invented.
Dependent upon the relative spacing of the warp and weft threads, the resultant cloth can be ‘warp-faced’ (only the warp visible because these threads are very close together) through equally spaced (‘balanced’ weave) through to ‘weft-faced’ (warp completely covered by the weft threads).
Tablet weaving is another, and rather unique, way of manipulating warp threads. The ‘tablet’ is typically a square of fairly thin material with a hole drilled at each of the four corners. The warps are arranged in groups of 4, with one thread passing through each hole, all threaded in the same orientation, see image below. Triangular and hexagonal tablets are also known.
A note on terminology. In the UK, we tend to call this technique ‘tablet’ weaving, whereas in the US it is called ‘card’ weaving. In Germany it’s ‘brettchenweben’, literally ‘weaving with little/thin boards’.

Here is a picture of two square tablets threaded with one strand per hole, 2 red and 2 black, in preparation for warping.
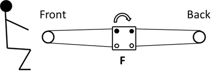
As is usual for weaving, the warp is then stretched out under tension. The set-up for one tablet can be represented as follows:

The ‘front’ and ‘back’ refer to the locations on the loom, the front being nearest the weaver.
There are, of course, several tablets set up side by side, each taking 4 warp threads.
In order to move the warp threads relative to one another, the tablet is turned either away from, or towards, the weaver. Nomenclature varies, but typically turning forwards refers to turning the top of the tablet away from the weaver, as illustrated in the above diagram. Here’s a warp with tablets set up.

If the tablets are turned one quarter turn (i.e. 90 degrees), then a weft inserted, then turned another quarter turn in the same direction, and weft inserted etc., the warp threads not only rise and fall, but they also twist around each other. The continuous twisting process makes each group of four form a cord, giving the characteristic appearance of tablet weaving. Because it is a usually a warp-faced weave (no weft visible), the cords are tightly packed together which produces a firm and strong woven band.

In the image, it is obvious that the angle of the threads varies in alternate tablets, giving a V-formation. Without going into too much detail, this is a function of both the direction in which the threads pass through the tablet, and the direction in which the tablet is turned during weaving. Additional patterning can be created by moving the tablets individually rather than in blocks.
To the right of this image, circled, the thread position changes and the V-formation is then reversed. The continuous turning of the tablets in the same direction causes a build-up of twist at the far end of the warp, and it gets more difficult to turn the tablets. In order to release this twist, it is common practice to reverse the turning direction, causing this ‘fault’ line.
So, continuously turning the tablets gives a structure of twisted (twined) threads that form ‘cords’, but there are other ways of manipulating them. Turning them for 2 quarter turns forwards, then two quarter turns backwards changes the relative position of the warp threads, but without them making a full rotation. In the diagram below, this might be position I to II to III to II to I (with a weft passed after each move), rather than I to II to III to IV to I. Thus, the ‘cords’ are no longer formed.

This is much more like ‘ordinary’ weaving, see images below. In both of these bands, the tablets have been moved individually in order to raise or lower particular colours, showing that intricate patterns can be produced by this method. Because of the weave structure, the weft may be visible in places e.g. as greenish spots within the pale yellow motifs, left, which makes the band slightly more flexible, but the warp is still nevertheless highly predominant.


Not all the holes of a tablet need to be filled.
Referring back to the diagram with the four tablets, imagine there are threads only in the holes marked ‘B’ and ‘D’, and that the tablets are turned from position I through II to III without passing a weft through at stage II. Thread D moves from the lower position to the upper position, then back up to its starting position as the moves are reversed (i.e. III to II to I). The structure is then exactly the same as the ‘ordinary’ basic weave that we call ‘tabby’ or ‘plain’ weave, where each warp thread moves up then down, while its neighbour moves down then up, as illustrated in the diagram, right. Black would be thread B, white would be thread D, and yellow is the weft.



The same set-up with 2 threads per tablet, but with all rotations in the same direction, gives a twined structure. In this, the warp threads in holes B and D constantly twist around each other, with a weft placed between each 180 degree move. The image (left) illustrates such twining, where the ‘warps’ are red and blue cords and the ‘wefts’ are thin sticks.
Twining as used, for instance, in basketry is usually made by keeping the ‘warp’ static (e.g. the spokes of a basket) and manipulating the ‘weft’. However, structurally this is the same whichever way it is made.

So, if a textile has a twined structure, was it made by tablet weaving? This illustrates the important distinction between structure and technique: these two terms are definitely not interchangeable.
Twining in Prehistory
Twining is a technique that is globally widespread and known from early in prehistory. There is evidence for its use in Palaeolithic hunter-gatherer societies, and Mesolithic hunters and fishers of the northern Urals. Twining was also used for fish traps in southern Scandinavian Late Mesolithic.
The Alpine region has yielded many very early textile remains, most of which have been recovered in Neolithic lake-dwelling sites in Switzerland that date from the range 4300 to 2400 BCE. Two types of fibre have been identified from the archaeological finds: lime bast and flax, the former being significantly more common. Tree bast fibres are primarily associated with twined textiles, flax with woven fabrics. The same specific use of these different materials has been found at the UK Must Farm site, which dates to the later Bronze Age, (920 and 800 BCE). Twining of bast fibres produces quite a rigid structure, flexibility generally only being attained when the twining is well spaced. Fragments of woven textiles from the Neolithic lake-settlement sites include edges that are carefully made in variations of plain weave, some with additional knotting, but no twining.
The earliest documented example of twining used as a warp or weft element associated with woven textile is a fragment of woollen fabric that dates from the Bronze Age in Austria. This is based on the known dates for salt mining in the Hallstatt region – dating back to the 15th century BCE and coming to an end in 1245 BCE. It appears to be a starting border on one of two fragments of cloth knotted together, the twined threads being thicker, more highly twisted and of opposite twist to the threads used in the ground weave. The twined cords alternate blue with light brown stripes, 3 of the blue, 4 of the brown, all twined the same way. It has been speculated to have been ‘maybe made in two-hole tablet-weave technique’. The fragments are made of wool, which may be a significant factor in the use of such twining. The development of sheep breeding in Central Europe in the late Neolithic and Bronze Ages is considered key to the advance in fibre technology and weaving techniques in that region. Such flexible yet strong woollen yarn would facilitate the successful use of twining in lighter weight fabrics.
When did simple twining become tablet weaving?
Evidence for tablets
The oldest physical evidence for the existence of weaving tablets comes from a carefully-worked square of bone (3.5 x 3.7 x 0.4 cm) with a hole at each corner that was found with other textile equipment at a late Bronze Age (1300 – 800 BCE) site of Abri Mühltal I, Niedersachsen, Germany. Tablets from 2 sites in Italy are of similar age, a bone one from Ficana, 8th century BCE and a number in wood and bone from Longola do Poggiomarino, 9th century BCE. They are all approximately 2 x 2 cm. Fragments of tablets found in Tomb 200 in El Cigarralejo, Spain (4th century BCE) indicate that they were square with holes at each corner, side length 3 cm, and reported as made from boxwood. Slightly younger, (circa 200 BCE) are two tablets made from wood that were excavated in Ringkobing county in Denmark. One is complete and measures 4.75 x 5.5cm, is 3mm thick, and has holes at each corner. The other is in fragments.
Textiles likely to have been tablet-woven
At Hochdorf, there were a very large number of well-preserved high status finds including textiles, most of which were made of wool. Two main tablet-woven bands have been identified, along with fragments of at least 4 others. One was woven in a 3/1 double-faced broken twill, the patterns enhanced by the use of two different colours. The other combines the use of tablets with only 2 holes threaded for the central pattern area, but edges with 4 holes threaded. Thus, by 500 BCE, various more complicated structures had been developed through the use of tablets.
Fragments of tablet-woven bands with cleverly-designed geometric patterns have survived in the Iron Age parts (800 – 450 BCE) of the Hallstatt salt mines, Austria, where the salt has preserved not only the organic artefacts themselves, but their original colours too. In the Hallstatt textile catalogue, they are numbered 123, 152 and 186. Hallstatt 123 is a particularly unusual find in that it is a complete band with the ends sewn together into a circle, and then sewn onto a twill fabric, probably to form the end of a sleeve. It is thought that most of the textiles found in the mine were brought in by workpeople to wrap around their tools or serve other practical uses, so to find such bands suggests that tablet weaving was not a rare technique by this time.
Supplementary pattern threads
The burial at Hochdorf contains probably the earliest example yet found of tablet weaving enhanced by supplementary weft. In this case, the technique used is soumak, which involves wrapping an additional weft thread around individual warp threads during the weaving process. Thus, it is not embroidery, which would be added after the textile was complete.
For my understanding of the history of brocaded tablet-woven bands, I am indebted to Nancy Spies whose book “Ecclesiastical Pomp and Aristocratic Circumstance” is a gold mine of information and a reflection of the vast amount of research that she has undertaken.
The earliest of the brocaded bands have been found centred around north-western Europe, that is, the kingdoms of the Merovingian Franks, in the late 5th or early 6th/7th centuries AD. However, it has not been established whether the technique originated there. Certainly, by the 10th century AD it had spread wider to, for instance, Scandinavia, Austria and Switzerland. The increasing availability of literary evidence and iconographic documentation by this period has underpinned the archaeological data to provide a broad picture of the use of brocaded bands during the thousand years between 6th and 16th centuries AD, after which time their use declined.
Conclusions
Tablet weaving has been around for a long time, since the late Bronze Age in Europe, and may have its foundation in twining which has been practised for much longer. The improvement of wool for spinning and weaving may have assisted its development as a viable technique. Since then weavers have found several ways of manipulating tablets to produce many different types of structures, making it one of the most versatile weaving techniques for making decorative bands.
I would like to thank Celia for her really enlightening post. Next month we have the first of a two-part post. Dr Mary Valante will be talking about, ‘Weaving Identities’.
Viking-Age evidence from rural Iceland and towns in Scandinavia suggests that textile production was well organized, specialized, and vital to both the local and long-distance economy. Looking at a town like Dublin, where the population was of mixed Irish and Scandinavian heritage and were known as “the foreigners” in Irish sources for over three centuries, can add yet another layer to the study of the significance of women’s work. Slave labor, specialized work spaces, skilled production, the demand for raw materials, and even a sense of fashion, all help demonstrate the different ways that women’s work in Viking Age Dublin was both vital to the economy, and crucial to supporting a sense of shared identity that stretched from town to town across the Viking world.
Contact: If you would like to contact Celia about her work, please use one of the links below:
celiathebraider@gmail.com
Further information:
For a general introduction to looms, see https://en.wikipedia.org/wiki/Loom (last accessed 17/10/2020).
Further information on twining in prehistory:
Harris, S (2014) Sensible Dress: the sight, sound, smell and touch of Late Ertebølle Mesolithic cloth types. Cambridge Archaeological Journal vol 24 pp 37-56.
Médard, F (2012) Switzerland Neolithic Period pp 367-377 in Textiles and Textile Production in Europe. From prehistory to AD 400. Gleba M and Mannering U (eds). Oxbow Books.
Must Farm, UK: (last accessed 23/10/2020)
Grömer K et al (2013) Textiles from Hallstatt, weaving culture in Bronze Age and Iron Age salt mines. Archaeolingua Catalogue number 288.
Grömer K (2014) Textile materials and techniques in Central Europe in the 2nd and 1st millennia BC. Textile Society of America symposium proceedings, paper 914. https://digitalcommons.unl.edu/cgi/viewcontent.cgi?article=1903&context=tsaconf (last accessed 3/11/2020)
Further information on evidence for tablet weaving:
Möller-Wiering S. (2012) Germany: Bronze and pre-Roman Iron Ages pp 128-129 in Textiles and Textile Production in Europe. From prehistory to AD 400. Gleba M and Mannering U (eds). Oxbow Books.
Raeder Knudsen (2012) Case study: The tablet-woven borders of Verucchio pp 259-260 in Textiles and Textile Production in Europe. From prehistory to AD 400. Gleba M and Mannering U (eds). Oxbow Books.
Alfaro Giner, C (2012) Spain pp 343-344 in Textiles and Textile Production in Europe. From prehistory to AD 400. Gleba M and Mannering U (eds). Oxbow Books.
and;
https://www.researchgate.net/figure/Tumba-200-del-Cigarralejo-Planta-y-elementos-relacionados-con-las-actividades-textiles_fig9_28321656 (last accessed 13/10/2020)
Hald M (1980) Ancient Danish Textiles from Bogs and Burials. The National Museum of Denmark pp225-226.
Pritchard, F (1994) Weaving tablets from Roman London. pp157-161 in Archaeological Textiles: Textilsymposium Neumünster (NESAT V, 1993). Jaacks G and Tidow K (eds).
Further information on textiles likely to have been tablet-woven:
Raeder Knudsen (2012) Case study: The tablet-woven borders of Verucchio pp 259-260 in Textiles and Textile Production in Europe. From prehistory to AD 400. Gleba M and Mannering U (eds). Oxbow Books.
Banck-Burgess J (2012) Case study: The textiles from the princely burial at Eberdingen-Hochdorf, Germany pp 139-150 in Textiles and Textile Production in Europe. From prehistory to AD 400. Gleba M and Mannering U (eds). Oxbow Books.
http://www.tabletweaving.dk/research/reconstructions/hochdorf-germany/ last accessed 4/11/2020
Grömer K et al (2013) Textiles from Hallstatt, weaving culture in Bronze Age and Iron Age salt mines. Archaeolingua Catalogue numbers 123, 152 and 186.
https://digitalcommons.unl.edu/cgi/viewcontent.cgi?article=1903&context=tsaconf last accessed 3/11/2020.
Further information on brocaded bands:
Nancy Spies (2000) Ecclesiastical Pomp and Aristocratic Circumstance. Published in 2000 by Arelate, Maryland, USA, it is now out of print, but available at a modest price as a download from http://www.arelatestudio.com/books.html
Crowfoot E and Chadwick Hawkes S (1967) Early Anglo-Saxon Gold Braids Medieval Archaeol 11 42-86; available at https://archaeologydataservice.ac.uk/library/browse/details.xhtml?recordId=3188430&recordType=Journal (last accessed 19/10/2020).
Celia, this is an excellent article with clear and understandable text and — my favorite thing in any article — beautifully drawn, simple, elegant line drawings and photographs. Well done and thank you. It is always good to see our textile craft brought to the attention of people who may be new to it.
LikeLiked by 1 person
I will pass your message on. Celia will be delighted.
She is excellent and so patient. I’m rubbish at tablet-weaving, just haven’t got my head round it yet, and she’s been really great with me.
LikeLike
Celia says thank you!
LikeLike